联系人:王经理
销售电话:15610293837
销售QQ:2962700085
公司地址:山东省潍坊高新区新城街道玉清社区光电路155号潍坊高新区光电产业加速器(一期)1号楼301
PRODUCT CENTER
联系人:王经理
销售电话:15610293837
销售QQ:2962700085
公司地址:山东省潍坊高新区新城街道玉清社区光电路155号潍坊高新区光电产业加速器(一期)1号楼301
草原生态监测站又称草原生态监测气象站,草原生态气象站,草原生态监测站可以用于草原生态环境的监测与评估,了解草原地区的气候特征、气象灾害风险、水文循环等还可以用于草原资源管理、草原畜牧业生产、草原生物多样性保护等。
一、草原生态监测站产品简介
草原生态监测站又称草原生态监测气象站,草原生态气象站,草原生态监测站可以用于草原生态环境的监测与评估,了解草原地区的气候特征、气象灾害风险、水文循环等还可以用于草原资源管理、草原畜牧业生产、草原生物多样性保护等。
WX-CQX9超声波气象站是一款高度集成、低功耗、可快速安装、便于野外监测使用的高精度自动气象观测设备。
该设备免调试,可快速布置,广泛运用于气象、农业、林业、环保、海洋、机场、港口、科学考察、校园教育等领域。
与传统的超声波气象站相比,我司产品克服了对高精度计时器的需求,避免了因传感器启动延时、解调电路延时、温度变化而造成的测量不准问题。
该设备创新性的采用九要素一体式传感器,可对风速、风向、温度、湿度、气压、光学雨量、总辐射、pm2.5、pm10等气象要素进行实时观测,可实现户外气象参数24小时连续在线监测,通过数字量通讯接口将九项参数一次性输出给用户。
二、产品特点
1.顶盖隐藏式超声波探头,避免雨雪堆积的干扰,避免自然风遮挡
2.原理为发射连续变频超声波信号,通过测量相对相位来检测风速风向
3.风速、风向、温度、湿度、气压、光学雨量、总辐射、pm2.5、pm10九要素一体式传感器
4.标配GPRS;可选配RJ45、以太网、4-20ma、Lora透传、4G透传、蓝牙、485转USB等多种传输方式
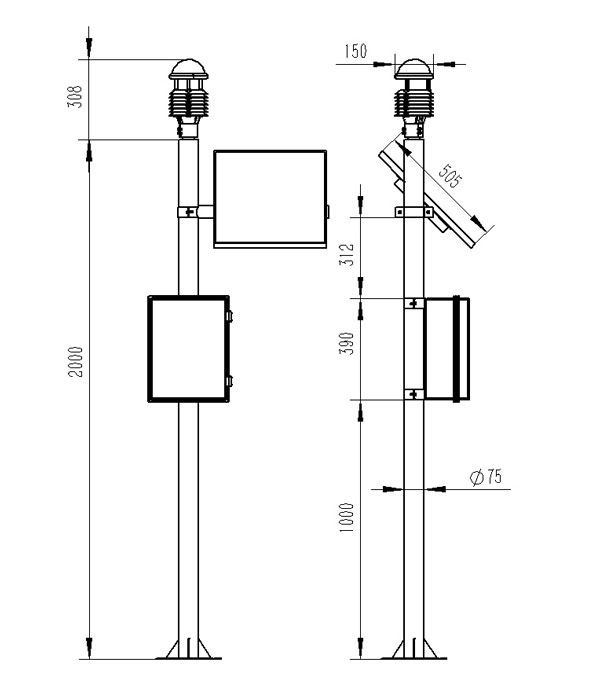
5.两米碳钢支架,顶部无需法兰盘可直接套接传感器
6.传感器外壳采用进口ASA材质,更有效对抗盐雾等环境,防护等级达到IP65以上
三、技术参数
1.风速(标配):量程:0~60m/s;分辨率0.01m/s;精度:±0.1m/s
2.风向(标配):量程:0~360°;分辨率:1°;精度:±2°
3.空气温度(标配):量程:-40-60℃;分辨率0.01℃;精度:±0.3℃(25℃)
4.空气湿度(标配):量程:0-100%RH;分辨率:0.01%RH;精度:±3%RH
5.大气压力(标配):量程:30-110Kpa;分辨率0.01Kpa;精度:±0.25%
6.PM2.5(标配):量程:0-1000ug/m³;分辨率1ug/m³;精度:±10%(<500微克)
7.PM10(标配):量程:0-1000ug/m³;分辨率1ug/m³;精度:±10%(<500微克)
8.光学雨量(标配):量程:0-4mm/min;分辨率0.01mm;精度:≤±4%
9.总辐射(标配):量程:0-1800W/m2;分辨率1W/m³;精度:<±3%
10.其他可选配要素:压电雨量、TSP、一氧化碳、二氧化硫、二氧化氮、臭氧、光照度、噪声、二氧化碳、氧气含量、硫化氢、氢气、氯气、氨气、氯化氢、氰化氢、氟化氢、磷化氢、二氧化氯、环氧乙烷、一氧化氮、过氧化氢、四氢噻吩、甲醛、VOC、催化燃烧可燃气
11.采集器供电接口:GX-12-3P插头,输入电压5V,带RS232输出Json数据格式,采集器供电:DC5V±0.5V峰值电流1A
12.传感器modbus、485接口:GX-12-4P插头,输出供电电压12V/1A,设备配置接口:GX-12-4P插头,输入电压5V
13.太阳能供电、配置铅酸电池,可选配30W 20AH/50W 40AH/100W 100AH.充电控制器:150W,MPPT自动功率点跟踪,效率提高20%
14.数据上传间隔:1分钟-1000分钟可调
15.安卓7寸触屏,屏幕尺寸:1024*600 RGB LCD
16.整机取得省级校准证书
17.生产企业为3A级信用企业
四、产品尺寸图
五、产品结构图
六、上位机软件介绍
1.PC单机版数据接收、存储、查看、分析软件
2.支持串口数据接收、处理、展示
3.支持json字符串、modbus485等通信方式
4.可自设置存储时间,modbus485采集模式下可自设置采集时间
5.支持自助增加、删除、修改监测参数的协议、名称、图标等
6.支持数据后处理功能
7.支持外置运行javascript脚本
七、安卓APP介绍
1.安卓单机版数据接收、存储、查看、分析软件
2.支持蓝牙数据接收
3.手机休眠后软件后台接收、处理
4.json数据自动添加设备,modbus设备支持扫码添加设备
5.支持历史数据查看、分析、导出表格,支持曲线展示、单数据点查看
6.支持数据后处理功能
7.支持外置运行javascript脚本
八、云平台介绍
1.CS架构软件平台,支持手机、PC浏览器直接观测、无需额外安装软件
2.支持多帐号、多设备登录
3.支持实时数据展示与历史数据展示仪表板
4.云服务器、云数据存储,稳定可靠,易于扩展,负载均衡
5.支持短信报警及阈值设置
6.支持地图显示、查看设备信息。
7.支持数据曲线分析
8.支持数据导出表格形式
9.支持数据转发,HJ-212协议,TCP转发,http协议等
10.支持数据后处理功能
11.支持外置运行javascript脚本
WX-FGF11光伏环境监测站是一种集成了多种传感器和数据处理技术的智能设备,能够实时监测光伏电站所在区域的气象参数和环境条件。通过精确的数据采集和分析,光伏环境监测站能够为光伏电站的运行维护提供科学依据,进而提升发电效率,降低运维成本。光伏环境监测站的主要功能包括实时监测光伏电站所在区域的气象参数(如温度、湿度、风速、风向、气压等)和辐照度数据,以及将这些数据实时传输至数据处理中心进行存储和分析。···
WX-Y1压电雨量传感器的工作原理基于压电效应,这是一种将机械应力转换为电荷的现象。当雨滴落在传感器的压电元件上时,会产生机械应力,导致压电材料内部电荷分离,从而产生电压信号。这个电压信号与雨滴的重量和冲击力成正比,通过测量电压信号的大小,就可以精确计算出雨滴的重量,进而累积得到降雨量。这种测量方式不仅响应速度快,而且精度高,能够实时反映降雨量的变化。···
WX-CW16H 4通道16孔荧光定量PCR仪以其独特的设计,实现了多通道并行检测,大大提高了实验效率。同时,16孔的容量设计,既满足了大规模样本筛查的需求,又保持了操作的便捷性。荧光定量PCR技术的应用,更是使得该仪器在DNA/RNA定量分析方面展现出极高的准确性和灵敏度。这些特点使得4通道16孔荧光定量PCR仪成为生命科学研究、疾病诊断、药物研发等领域的得力助手。···
WX-SW3自动化水文监测站最独特之处在于它们的"自主智慧"。当黎明第一缕阳光照在水面时,它们已经完成了整夜的数据采集;当暴雨突至水位骤变时,它们能瞬间捕捉异常并发出预警。这种"先知先觉"的能力,让防汛抗旱从被动应对转向了主动防御。在洪峰形成前,数据已传回指挥中心;在干旱初期,信息已提示水源调度,为决策者争取了宝贵的时间窗口。···
WX-SQ17应急管理手持气象仪器设计精巧,体积小巧轻便,可以轻松佩戴在手腕上或是放入口袋中,随身携带无负担。别看它外表不起眼,却内藏乾坤,集成了多种气象监测传感器,能够实时监测空气温度、湿度、风速、风向以及气压等关键气象参数。这些数据的准确获取,对于应急管理人员来说至关重要,可以帮助他们迅速判断当前的气象状况,为应急决策提供科学依据。···
WX-SQ5手持气象综合观测仪的设计初衷是为了满足各类气象监测需求,无论是在科研、教学、农业、环保还是应急管理等领域,它都能提供准确、及时的气象数据。其小巧的体积和轻便的重量,使得用户可以轻松携带至任何需要监测的地点,无论是高山、田野、城市还是海洋,都能随时展开气象监测工作。···